BodyScan flagra tentativa de entrada de drogas na Cadeia Pública de Salvador
Duas visitantes foram detidas com entorpecentes escondidos no corpo
Por: Redação
13/01/2026 • 10:40
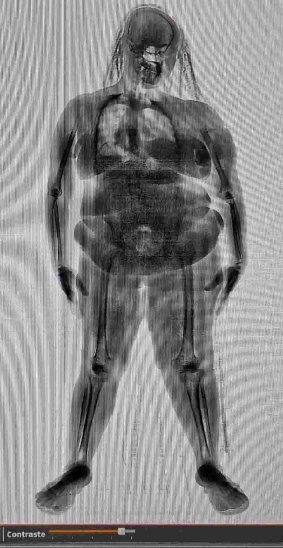
Duas mulheres foram detidas nesta segunda-feira (12) após serem flagradas tentando entrar com drogas na Cadeia Pública de Salvador, localizada no Complexo Penitenciário da Mata Escura. A ação foi impedida durante o procedimento de revista realizado com o auxílio do escâner corporal BodyScan.
De acordo com a Secretaria de Administração Penitenciária e Ressocialização (Seap), a tecnologia apontou imagens com anomalias compatíveis com a presença de objetos introduzidos no corpo das visitantes. Diante do indício, ambas admitiram que transportavam material ilícito escondido nas partes íntimas.
As mulheres, que eram companheira de um detento e irmã de outro interno da unidade, foram conduzidas à Central de Flagrantes para os procedimentos legais. Com elas, os agentes apreenderam cerca de 150 gramas de substância semelhante à maconha e aproximadamente 50 gramas de material análogo à cocaína.
Reprodução/ Seap
Segundo a Seap, o uso do BodyScan tem sido fundamental para coibir a entrada de drogas e outros itens proibidos no sistema prisional baiano, reforçando a segurança nas unidades e evitando riscos à integridade de internos e servidores.
Relacionadas
